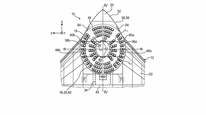
Скица от заявката за патент на ”Еърбъс” | IT.dir.bg
”Еърбъс” патентова ”извънземен” самолет (снимки)
2 /3
Скица от заявката за патент на ”Еърбъс”
worldwide.espacenet.com
2/3